适用于交流50Hz、额定工作电压35kV的电力系统中,作为35kV型变电站变电设备
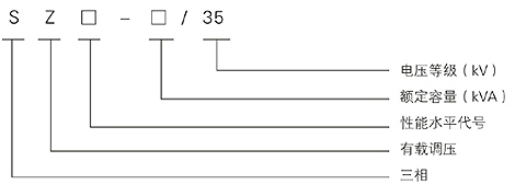
型号含义

铁心
| 额定容量 | 安装尺寸(mm) | ||||
| kVA | L | W | H | C1 | C2 |
| 800 | 2740 | 970 | 2120 | 820 | 820 |
| 1000 | 3000 | 990 | 2170 | 820 | 820 |
| 1250 | 3070 | 1020 | 2190 | 820 | 820 |
| 1600 | 3150 | 1060 | 2250 | 820 | 820 |
| 2000 | 2700 | 1100 | 2300 | 1070 | 1070 |
| 2500 | 3120 | 2300 | 2365 | 1070 | 1070 |
| 3150 | 3220 | 2350 | 2410 | 1070 | 1070 |
| 4000 | 3300 | 2560 | 2490 | 1070 | 1070 |
| 5000 | 3350 | 2750 | 2550 | 1070 | 1070 |
| 6300 | 3580 | 2800 | 3080 | 1475 | 1475 |
| 8000 | 3790 | 2610 | 3210 | 1475 | 1475 |
| 10000 | 3870 | 3220 | 3400 | 1475 | 1475 |
| 12500 | 3990 | 3260 | 3540 | 1475 | 1475 |
| 16000 | 4370 | 3480 | 3680 | 1475 | 1475 |
| 20000 | 4850 | 3050 | 3970 | 1475 | 1475 |
| 25000 | 5470 | 4000 | 4010 | 1475 | 1475 |
| 31500 | 5900 | 4450 | 4100 | 1475 | 1475 |
| 额定容量 | 电压组合 | 联结组 | 损耗(KW) | 空载电流 | 短路阻抗 | 重量kg | ||||
| kVA | 高压kV | 高压分接范围 | 低压kV | 标号 | 空载 | 负载 | % | % | 油重 | 总重 |
| 800 |
35 38.5 |
±3×2.5% ±4×2.5% |
3.15 6.3 10.5 10.0 11.0 |
Yd11 | 1.35 | 10.40 | 1.3 | 6.5 | 1010 | 3360 |
| 1000 | 1.60 | 12.80 | 1.2 | 1080 | 3800 | |||||
| 1250 | 1.90 | 15.50 | 1.1 | 1170 | 4250 | |||||
| 1600 | 2.30 | 18.50 | 1.1 | 1400 | 5010 | |||||
| 2000 | 2.88 | 20.25 | 0.8 | 1590 | 5820 | |||||
| 2500 | 3.40 | 21.73 | 0.8 | 1700 | 6350 | |||||
| 3150 | 4.04 | 36.01 | 0.75 | 7 | 1950 | 7950 | ||||
| 4000 | 4.84 | 30.69 | 0.75 | 2165 | 9065 | |||||
| 5000 | 5.80 | 36.00 | 0.68 | 2250 | 9810 | |||||
| 6300 | 7.04 | 38.70 | 0.68 | 7.5 | 2610 | 12010 | ||||
| 8000 | YNd11 | 9.84 | 42.75 | 0.6 | 2890 | 14790 | ||||
| 10000 | 11.60 | 50.58 | 0.6 | 3830 | 18750 | |||||
| 12500 | 13.68 | 59.85 | 0.56 | 8 | 4270 | 23530 | ||||
| 16000 | 16.46 | 74.02 | 0.54 | 6200 | 25600 | |||||
| 20000 | 19.46 | 87.14 | 0.54 | 7500 | 32670 | |||||
| 25000 | 23.70 | 107.00 | 0.5 | 7800 | 42020 | |||||
| 31500 | 27.50 | 126.00 | 0.4 | 8960 | 44330 | |||||